一、概述

  空气输送斜槽是一种用于输送干燥粉状物料的气力输送设备。在水泥工业中常用于输送水泥和生料粉。空气输送斜槽在输送物料中因为、没有转动部件,易于维护,密封性好,无噪音,操作安全可靠,耗电少,改变输送方向方便,并能多点喂料和多点卸料而得到广泛的应用。空气输送斜槽的主要构件是透气层,空气输送斜槽采用PETS-6(涤纶)型合成纤维织物,是一种新型透气型,它具有耐高温(可达
 

二、技术性能
输送物料:含水量≤1%,温度≤
输送能力:输送水泥及生料成品时的输送能力如下表所列:
三、技术参数
 代号
    
        
             
        规格 
            XZ200 
            XZ250 
            XZ315 
            XZ400 
            XZ500 
            XZ630 
            XZ800 
        
             
        槽体宽度 
            m m 
            200 
            250 
            315 
            400 
            500 
            630 
            800 
        
             
        输 送 能 力 
            a=4° 
            水泥 
            T/h 
            22 
            40 
            70 
            130 
            220 
            320 
            400 
        
             
        生料 
            16 
            30 
            55 
            100 
            165 
            245 
            310 
        
             
        a=6° 
            水泥 
            40 
            65 
            120 
            250 
            400 
            610 
            765 
        
             
        生料 
            30 
            55 
            90 
            185 
            300 
            455 
            565 
        
             
        a=8° 
            水泥 
            50 
            80 
            140 
            300 
            470 
            720 
            900 
        
             
        生料 
            35 
            65 
            110 
            225 
            355 
            540 
            670 
        
             
        a=10° 
            水泥 
            60 
            100 
            170 
            380 
            570 
            900 
            1080 
        
             
        生料 
            45 
            80 
            140 
            285 
            425 
            670 
            800 
        
             
        a=12° 
            水泥 
            70 
            120 
            205 
            455 
            685 
            1080 
            1295 
        
             
        生料 
            50 
            95 
            165 
            340 
            510 
            805 
            960 
        
             
        槽体节长 
            标准节 
            m m 
            2000 
        
             
        非标准节 
            m m 
            250 
        
             
        需要风压 
            KPa 
            4-5.5 
        
             
        需要风量 
            m3/m2.min 
            1.5-2 
        
             
        透 气 层 
            材质 
              
            合成纤维 
        
             
        厚度 
            m m 
            4-6 
        
             
        耐温 
            ℃ 
            150 
        
             
        径向断裂强度 
            N/cm宽 
            4700 
        
             
    
阻力 
            Pa 
            800-1200(在2m3/m2.min条件下) 
        
    
        
             
        
             
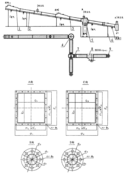
            a1 
            b1 
            e1 
            f1 
            m1×R1 
            n1×R1 
            n-Φ1 
        
             
        型号 
            Ⅰ型 
            Ⅱ型 
            Ⅰ型 
            Ⅱ型 
            Ⅰ型 
            Ⅱ型 
            Ⅰ型 
            Ⅱ型 
            Ⅰ型 
            Ⅱ型 
            Ⅰ型 
            Ⅱ型 
            Ⅰ型 
            Ⅱ型 
        
             
        XZ200 
            120 
            200 
            120 
            150 
            210 
            280 
            210 
            230 
            2×86 
            4×63 
            2×86 
            3×66 
            8-Φ14.5 
            14-Φ12 
        
             
        XZ250 
            150 
            250 
            150 
            200 
            240 
            330 
            240 
            280 
            3×70 
            4×70 
            3×70 
            3×83 
            12-Φ14.5 
            14-Φ12 
        
             
        XZ315 
            150 
            250 
            150 
            250 
            240 
            330 
            240 
            330 
            3×70 
            4×75 
            3×70 
            4×75 
            12-Φ14.5 
            16-Φ12 
        
             
        XZ400 
            150 
            315 
            150 
            315 
            240 
            395 
            240 
            395 
            3×70 
            5×73 
            3×70 
            5×73 
            12-Φ14.5 
            20-Φ12 
        
             
        XZ500 
            200 
            400 
            200 
            400 
            290 
            480 
            290 
            480 
            3×88 
            6×75 
            3×88 
            6×75 
            12-Φ14.5 
            24-Φ12 
        
             
    
XZ630 
            200 
            500 
            200 
            500 
            290 
            580 
            290 
            580 
            3×88 
            7×79 
            3×88 
            7×79 
            12-Φ14.5 
            28-Φ12 
        
    
        
             
        代号 
            a2 
            b2 
            e2 
            f2 
            m2 × R2 
            n2 × R2 
            N - Φ3 
            d1 
            d2 
            d3 
            n-Φ2 
            d4 
            d5 
            d6 
            n- Φ 4 
        
             
        型号 
        
             
        XZ200 
            206 
            206 
            286 
            286 
            3 × 82 
            3 × 82 
            14 - Φ12 
            108 
            152 
            188 
            4 - Φ 12 
            Φ130 
            Φ160 
            Φ190 
            6 - Φ  12 
        
             
        XZ250 
            256 
            256 
            336 
            336 
            4 × 75 
            4 × 75 
            16 - Φ12 
            108 
            152 
            188 
            4 - Φ 12 
            Φ135 
            Φ170 
            Φ205 
            6 - Φ   12 
        
             
        XZ315 
            321 
            321 
            401 
            401 
            5 × 73 
            5 × 73 
            20 - Φ12 
            260 
            225 
            260 
            6 - Φ 12 
            Φ190 
            Φ225 
            Φ260 
            8 - Φ 12 
        
             
        XZ400 
            406 
            406 
            486 
            486 
            6×75 
            6×75 
            24-Φ12 
            315 
            280 
            315 
            8-Φ12 
            Φ245 
            Φ280 
            Φ315 
            8-Φ12 
        
             
        XZ500 
            506 
            506 
            586 
            586 
            7×79 
            7×79 
            28-Φ12 
            340 
            305 
            340 
            8-Φ12 
            Φ270 
            Φ305 
            Φ340 
            8-Φ12 
        
             
    
XZ630 
            638 
            638 
            738 
            738 
            8×86 
            8×86 
            32-Φ 
            405 
            370 
            405 
            12-Φ12 
            Φ355 
            Φ395 
            Φ435 
            12-Φ12 
        



















